Re: Dodatna baterija

To pa res ni potem problem. Verjetno bom kar naročil tole in sam zmontiral. Potem pa pridem enkrat do tebe, da vržeš oko, če je vse ok, da se ne bi začelo kej kadit. :D Pa so kabli pod armaturo dovolj močni, da polnijo dodatni akumulator? Alternator imaš original? Ti maš verjetno tako bolj močnega kot jaz v dizlu.

LP
Živiš samo enkrat, a če to narediš pravilno, je enkrat dovolj. (Joe E. Lewis)

Re: Dodatna baterija

Ali kdo ve, če je polnilec LG20 (standardna oprema v veliko T3 kamperjih) primeren za polnjenje dveh akumulatorjev, če sta različna (eden je navaden 75A starterski, drugi je pomožni 95A AGM) ?
Isto velja za alternator (90A). Ali je primeren za polnjenje AGM akum ?

Hvala za morebitni odgovor! En nov akumulator (95A, AGM) je namreč že crknil, pa ne vem zakaj.

Brane

Re: Dodatna baterija

JA ..v mojem T3 Westfalia je LG20 bil original notri (še na Westfalini nalepki gor tko piše), ki je po moje polnil samo bivalni aku, prejšnji lastni k je vgradil dva BOSHova in tako ni problem polniti gel in navadnega, samo je pa alternator mal prešvoh... :(
Aja pa na tej nalepki piše še für bleibatterien :(
http://www.gumitehna.si/

Re: Dodatna baterija

Alternator če na njem piše 75/90ah ni prešvoh. (govorimo o kapaciteti)
je pa v primeru močnejših aku. samo malo bolj obremenjen....
Po mojem bo problem gel v kombinaciji z navadnim.....
Med ogromno zelenjave boš na slo-caravaning kaj koristnega o tem našel.
Ti je pa John magister iz te stroke.

Re: Dodatna baterija

Kakor da se voziš v klanec s kolesom...v manj stopinjski gre lažje...
Isto se ti dogaja pri polnenju...filal ti je samo 75Ah ccu,95Ah pa nikoli do konca...in cikli praznenja so ga uničili...Sigurno je gel še v garanciji,nared se francoza in ga nesi nazaj,maš veliko možnosti da ti ga zamenjajo...pa reci jim da bi bil bolj zadovoljen z 75Ah...
Sam uporabljam tri accuje vsi so 75Ah,dva gel in za mašino svinčen...po treh letih uporabe vsi delujejo brezhibno,samo mislim da original polnilec polni samo kabinska accuja...
Pa polnenje z altenatorjem tudi traja da nafilaš tako kapaciteto ko enkrat pade pod 11,5V...
Brezalkoholno pivo je kot pornič na radiju
Boljš z EvilEyem na morje,kot pa z Nissanom v službo

Re: Dodatna baterija

qwertz napisal/-a:Ali kdo ve, če je polnilec LG20 (standardna oprema v veliko T3 kamperjih) primeren za polnjenje dveh akumulatorjev, če sta različna (eden je navaden 75A starterski, drugi je pomožni 95A AGM) ?
Isto velja za alternator (90A). Ali je primeren za polnjenje AGM akum ?

Hvala za morebitni odgovor! En nov akumulator (95A, AGM) je namreč že crknil, pa ne vem zakaj.

Brane


Ma LG 20 in alternator filata vse kar je prazno.
Expert za VW T3

Predsednik VW T3 Kluba Slovenija
http://www.vwT3klub.com

Komisar za starodobna vozila pri SVAMZ

Član:
Mercedes-Benz Klub Slovenija
VW Klub Dolenjske in Bele krajine
UO Svamz

Re: Dodatna baterija

Živjo.

Saj me še nisi poslal v PM... si bom malo časa vzel:

Omenjenega polnilca sicer ne poznam, bom raje malo s teorijo zatežil. Kot sem seznanjen, res polni samo sekundarni (bivalni) akumulator. Nekateri so si sami prevezali preko stikal ali pa relejev, bivalni štrom tudi na štartni akumulator, da ga po želji lahko polnijo tudi s polnilcem.

Akumulator je dokaj "živa" zadeva (kemija). Različno se obnaša v mrazu ali v vročini, različno, če je "zaspan" (se pravi, da dolgo časa ni bil v rabi), drugače, če je utrujen...
Zato je treba z akumulatorjem navezati en pristen - prijateljski odnos, da ti bo dobro služil.

Zavedati se moramo tehle dejstev:

V bistvu se lahko s takim polnilcem (Nur fur blei-akku...) polni vse vrste svinčenih baterij: navadne kislinske štartne akumulatorje, kot tudi vse vrste cikličnih in ""stand-by" akumulatorjev: AGM, GEL, včasih rečemo tudi Dryfit.... Sodobni polnilci sicer razlikujejo vse te vrste akumulatorjev, a več ali manj je vse skupaj le prodajni štos (razne krivulje polnjenja...).

Osnovni princip polnjenja Pb akumulatorjev:
Vsak svinčen aku bo čisto zadovoljen, če mu na sponke pritisneš 14,0 - 14,8V (za šnel polnjenje tudi 15V dobro prenese). Ta napetost lahko ostane pritisnjena na akumulator en do dva dni, kar je več je že preveč. Če pa nimaš toliko časa, bo pa 5 - 10 ur čisto dovolj. Akumulator ima neko svojo napetost, ki je v največji meri odvisna od napolnjenosti. Razlika med napetostjo polnilca in napetostjho akumulatorja, pa pri polnjenju prične poganjati tok skozi akumulator. Ta tok je odvisen tudi od notranje upornosti akumulatorja. Večji in boljši imajo manjšo notranjo upornost, manjši in slabši pa večjo. To pomeni, da bo zelo prazen in močan aku (z veliko kapaciteto), v začetku polnjenja potegnl velik tok iz polnilca (ali pa iz alternatorja). V naših primerih (okoli 100Ah), ta tok v prvih 10 minutah doseže vrednosti cca. 20A. Ponavadi se polnilec (ali alternator) pri takem bremenu tudi malo sesede. Bolj, kot se akumulator polni, bolj se mu dviga lastna napetost, napetostna razlika do napetosti polnilca se manjša in tok počasi pada. Torej, glavno delo je opravljeno v prvih petih urah (v povprečju se prazen aku tedaj napolni na nekih 75% kapacitete). Vse ostalo (naslednjih 10 - 20 ur), je le še zvrhanje napolnjenosti. Upam se celo trditi, da se v tem času akumulator bolj uničuje, kot v začetnem delu polnjenja. Idealno je torej aku uporabljati med 30 in 75% kapacitete.

Gremo dalje: Hkratna (paralelna) vezava dveh akumulatorjev na polnilec:
Venomer poslušamo, kako ni dobro paralelno vezati dveh akumulatorjev, če nista popolnoma enaka. To je že res, ker se bo nekaj izgubne energije precedilo iz enega akumulatorja v drugega. Sam mislim, da za krajši čas tudi to ni problem, če sta le oba akumulatorja dobra in približno enako napolnjena.
Še manj problematična je vezava dveh akumulatorjev na polnilec ali alternator. Če je vir dober (da se ne seseda), tedaj akumulatorja sploh ne bosta vedela eden za drugega. Vsak aku čuti samo polnilec. Če pa se polnilec (ali alternator) preveč seseda (npr. zaradi premajhne moči), bo pa več polnilne energije "pokasiral" bolj prazen aku.

Po mojih izkušnjah je bolje najprej napolniti en aku, nato pa drugega, seveda, če imamo čas. Če želimo popolnoma prazen bivalni aku napolniti, se moramo torej voziti vsaj 5 ur.... neglede, kako močan alternator imamo.

Najpogostejši vzrok pokvarjenih akumulatorjev je v prevelikem izpraznjenju, ali pa pri predolgem, pretiranem polnjenju. Pri dolgi neuporabi, lahko že ena ledica, ali pa "uštekan" polnilec telefona, izprazni aku, ali pa ga s stalnim majhnim tokom popolnoma izčrpa. Problem nastopi tudi, če imaš avto stalno priklopljen na štrom in vklopljen kakšen porabnik. Če aku ni za Stand-by uporabo, ga bo polnilec s stalnim vklapljanjem in izklapljanjem hitro "posušil".

No, pri moči alternatorja pa je takole: Važno je, da pokrije vse električne porabnike (cca. od oka 25A za T3), pa da ostane že kakih 20A za polnjenje praznega akumulatorja, je vrh glave dovolj. Problem je ponavadi v tem, da stari alternatorji niso prešvoh, ampak imajo slabe kontaktne upornosti, oksidirane priključke, slabe kable... Prvo je treba to premeriti, potem šele iskati močnejši alternator.

No tole bi bil en kratek uvod, jutri pa naprej. Pa pocrkljajte svoje akumulatorje.

Re: Dodatna baterija

Točno,...sem pozabil omeniti...preveri ali imaš že namontiran rele, ki preklapla med akuji...v mojem je bil BOSCHov pa ena zlo dolga šifra (sem že odpiral temo o tem releju, ker sem mislil da je šel rakom žvižgat), se pa nahaja (vsaj pri meni) pod voznikovim sedežem (v luknji poleg akuja).
http://www.gumitehna.si/

Re: Dodatna baterija

Tale rele so imel vsi westy-i se mi zdi... Ampak vem, da sem nekje bral, da zadeva ni ravno najboljše izpeljana...
Še premišljujem kako bi pri sebi malce bolj elegantno uredil to. Kar se pa polnilca tiče sem si za v kamperja kupil c-tek 7000 al neki tazga. Kar zadovoljen, imaš še funkcijo supply, in ga lahko uporabljaš kot pretvornik 220-12v.
My van isn't leaking oil, it's just marking it's territory.

Re: Dodatna baterija

Kako je pa pri Westafaliah narejena vezava porabnikov. Kaj gre na bivalni aku in kaj na zagonskega? Kakšen aku je original noter?

LP
Živiš samo enkrat, a če to narediš pravilno, je enkrat dovolj. (Joe E. Lewis)

Re: Dodatna baterija

Na bivalnem imaš vodo, hladilnik pa mislim, da še eberspacherja. Vse ostalo je na zagonskem (luči, radio,...).

Kot sem že omenil zadeva bi lahko bila malce boljše izpeljana. :wink:

LP
My van isn't leaking oil, it's just marking it's territory.

Re: Dodatna baterija

Tako ja mislil sem žaromete. Pa tista mala nad voznikovimi vrati je tudi na zagonskega vezana. Nad kuhinjo je pa na bivalnega vezana... :wink:
My van isn't leaking oil, it's just marking it's territory.

Re: Dodatna baterija

Se pravi najbolj elegantno je potem kupit rele, ki se je že v tej temi omenjal (ga imam tudi sam na Caravelli), ki preklaplja med akujema in ti radio in ostale stvari veže na bivalni aku.

LP
Živiš samo enkrat, a če to narediš pravilno, je enkrat dovolj. (Joe E. Lewis)

Re: Dodatna baterija

Saj kako je tovarniško itak ni važno bolj važno je da je nam praktično, ko sem imel kamperja sem si vse vezal na bivalnega razen osnovnih stvari pri avtu. Radio, notranje lučke, in vsa kamping oprema je bila na bivalnega tudi če je kakšna analogna ura na armaturi je dobro jo povezat na bivalnega. Normalno ko je avto prižgan rele (70A) poveže akuje med seboj. Potem sem pa še naredil stikalo (100A) vzporedno na rele, da v primeru če imaš slab štartni aku priklopiš in pališ avto. No saj to isto imam sedaj v kasonarju.
Expert za VW T3

Predsednik VW T3 Kluba Slovenija
http://www.vwT3klub.com

Komisar za starodobna vozila pri SVAMZ

Član:
Mercedes-Benz Klub Slovenija
VW Klub Dolenjske in Bele krajine
UO Svamz

Re: Dodatna baterija

Spoštovani g. John, stokrat hvala za tako krasno izčrpno razlago. Ko pomislim, koliko časa sem porabil, da bi kaj podobnega našel na Int. pa mi ni uspelo. Kakorkoli, upam da se bom lahko revanširal, če ne drugače pa v obliki hladnega piva. Zdi se da je hladno pivo itak najvažnejša postranska nit vseh forumov.
Seveda je delujoč hladilnik glavni pogoj. Tisti, ki imajo plinske hladilnike itak nimajo problemov. Sam imam mali kompresorski elektrolux, ki sicer lepo dela vendar pri 75W porabi sprazni še tako dober akku. Odtod tudi vse moje težave. Vsi ostali porabniki rabijo neprimerljivo manj moči. Zato sem tudi nabavil 95A, AGM akku. ki je crknil še preden sem ga lahko stestiral v v obliki hladnega piva 'poleti'. Akumulator so mi sicer zamenjali, bojim se pa da sem ga uničil jaz, pa ne vem kako. Vsekakor nebi rad ponovil zgodbo še enkrat. Odtod moja vprašanja. No, sedaj po Johnovem posredovanju mi je nekoliko lažje pri srcu. Do prave vročine je še daleč. Sicer pa nameravam poleti do Gibraltarja (Portugal mi je pač pri srcu).
Ta hladilniški problem sem sicer dokaj uspešno reševal z električno hladilno torbo (priklop na vžigalnik). Njena poraba je skoraj dvakrat manjša pa tudi hladi še kar. Še zmaram pa ostaja slab občutek, ko prevažam kompresorski hladilnik, ki ga pa minimalno uporabljam. Če pri VW t3 Dehleru odstraniš hladilnik se poruši vsa notranja razporeditev.

Vzemite to kratko sporočilo kot prispevek k večernemu zimskemu berilu. Pa še enkrat hvala za res prijazen in izčrpen odziv..

Brane

Re: Dodatna baterija

Brane, pazi predvsem, da novega akumulatorja ne sprazniš pod (bom kar na pamet usekal), kakih 10,8V. Pa to niti ni tako hudo, če je le za kratek čas (par ur). Dosti slabše je, če z zelo majhnim bremenom aku zelo počasi prazniš in ga en teden držiš na 11,5V. Dobro je, če ima hladilnik varnostni izklop, ki prepreči pregloboko izpraznenje akumulatorja.

Z zgoraj omenjenimi malimi bremeni (par ledic, alarm, kak displej od termometra), pa da se tri tedne nikamor ne pelješ, pa mraz, ali pretirana vročina, pa je aku fuč. No, če ne čisto fuč, mu vsaj kapaciteta pade za določen procent. Pa to parkrat ponoviš, procenti se seštevajo (so nas učili), pa je konec.

Tudi sam sem tako uničil marsikateri aku. Sedaj pa prakticiram takole: ko pridem domov nafilam vse bivalne akumulatorje (enega za drugim). Nato pa vse dodatne akumulatorje odklopim od bivalnega dela, da počivajo do naslednjega vikenda. Ta čas pa polnilec deluje le kot napajalnik bivalnega dela. Tudi, ko kaj delam v avtu, ko dela radio, luči, termostatika za ogrevanje, par ventilatorjev za razpihovanje zraka...., vse to laufa le na omrežni napajalnik, akumulatorji počivajo. Isto naredim tudi, če sem dlje časa v kampu - na štromu.

Prav to je omenjal tudi Rasta:

rasta napisal/-a:....Kar se pa polnilca tiče sem si za v kamperja kupil c-tek 7000 al neki tazga. Kar zadovoljen, imaš še funkcijo supply, in ga lahko uporabljaš kot pretvornik 220-12v.


Važno je le, da tak napajalnik pokrije vse potrebe porabnikov.

Pa še par dejstev o obnašanju svinčenih akumulatorjev:

Če imaš na razpolago več kot en aku za bivalni del, je idealno na par ur preklapljat breme med akumulatorji. Na tak način (ko mu daš čas za počitek, da se malo opomore), dobiš tudi do 30% boljše rezultate (v smislu skupne kapacitete), kot če najprej enega izcuzaš do konca, pa nato drugega....

En pregovor pravi: "Ženske je treba tepst! Če ti ne veš zakaj, ona bo že vedla."
Včasih imam občutek, da imajo Pb akumulatorji v sebi nekaj ženskih genov. Namreč, od časa do časa jim paše, če jih malo bolj na trdo primeš. Se pravi, da jih močno obremeniš in polniš z velikim tokom (na 15V). Na takih principih delujejo tudi "vsemogočni" sodobni hitri polnilci (ECS), ki impulzno polnijo z velikimi tokovi - z napetostmi tudi preko 16V, pa nato pustijo akumulatorju, da malo predahne, pa ga na hitro malo izpraznijo, pa zopet polnijo...

Brane, na koncu ti pa ostane še vedno "upanje", da si naletel dejansko na slab akumulator, ki je počepnil brez pravega zunanjega razloga. Pa je tvoja vest lahko čista.

Re: Dodatna baterija

John,

napisal si...
Po mojih izkušnjah je bolje najprej napolniti en aku, nato pa drugega, seveda, če imamo čas. Če želimo popolnoma prazen bivalni aku napolniti, se moramo torej voziti vsaj 5 ur.... neglede, kako močan alternator imamo.

Tukaj mi nekaj ni jasno. Če je akumulator 90 Ah in alternator 90A, kaj to ne pomeni, da je potrebna ena ura, da alternator napolni akumulator (v idealnem primeru, ko ni drugih porabnikov) !?

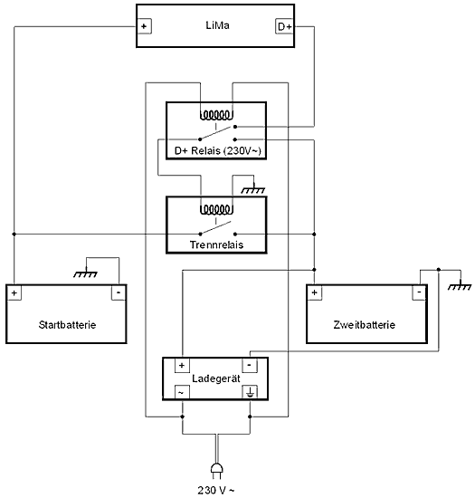
Prilagam dve shemi s katerimi poskušam doseči da:
- alternator polni oba akumulatorja (to že funkcionira)
- v mirovanju se prazni samo bivalni aku. (tudi že dela s pomoč. releja)
- polnilec polni oba akkuja, ko je avto priključen na 220V (kamp, doma in pod.)
Vse skupaj bi moralo delati samodejno, brez ročnega preklapljanja. Zakompilicira se, ko se v krog vstavi polnilec saj gre v mirovanju tok preko trenne releja tudi na kontakt D+ alternatorja, to pa pomeni na statorsko navitje alternatorja. To (po moje) pomeni, da se tok zgublja, oziroma da se navitje alt. brez veze greje.

Tu se moja inventivnost neha, vendar poskusiti ni greh. Sicer mi je pa že dosedanja izmenjava mnenj na to temo močno zmanjšala moro z akumulatorji. Očitno je potrebna energija, ko avto dalj časa miruje nekje v divjini kar problem. Kljub vsemu je zgleda najbolj elegantna rešitev plinski hladilnik...
Zanimivo bi bilo pogledati kakšno elektroniko v ta namen imajo 'ta veliki, novi, fool cool kamperji'. Opravičujem se, če sem preveč zatežil..

Lep pozdrav
Brane
Priponke
Ladegeraet_an_2_Batterien.gif
ta vezava naj bi baje preprečila da gre tok iz polnilca na D+ alternatorja
Ladegeraet_an_2_Batterien.gif (8.29 KiB) Pogledano 18318 krat
Zweitbatterie-Trennrelais.gif
klasična vezava dveh akumulatorjev na alternator s pomočjo releja (trennrele)
Zweitbatterie-Trennrelais.gif (20.77 KiB) Pogledano 18318 krat

Re: Dodatna baterija

90A alternator pomeni, da je to maksimalni tok, ki ga alternator še zmore poganjati, pa da mu pri tem napetost na sponkah ne pade pod neko razumno mero.

90Ah akumulator pomeni, da je akumulator zmožen poganjati tok 10A v času 9 ur, ali pa... V praksi je seveda malo drugače.

Če bi akumulator res lahko polnil z 90A, bi res zadostovalo 1 ura polnjenja. Ampak, če bi hotel, da v aku teče 90A, bi moral nanj priključiti vsaj 30V, ali celo več. Pa niti ne poskušaj tega, ker se bo aku elektrolit hitro razgradil in tudi pri 50V vanj nebi teklo nič več. Da ne omenjam nevarnosti eksplozije....

Kot rečeno že v prejšnjih postih, na aku lahko priključimo največ napetost 2,5V po celici, kar znese za 12V akumulator cca.15V. Pri taki napetosti bo v res prazen aku steklo morda tudi do 20A, po parih minutah pa tok hitro pade in znaša v normalnih pogojih le cca 5 - 10A. Po 5 urah le še 2,5A. govorim na pamet, ker se vsak akumulator drugače obnaša.

Torej, nakup super duper močnega polnilca (50A), se izplača le v prvih minutah, kasneje bo pa filal skoraj enako, kot švohcan 3A polnilec. V primeru, da polnilec uporabiš tudi kot Stand-by napajalnik, je pa le fino, da ima čimvečjo moč, da pokrije vse porabnike.

Bo torej kar treba vsaj 5 ur vožnje, da nafilaš prazen aku na polovico in naslednjih 20 ur, da ga nafilaš do konca.

Priložena vezava bo kar taprava. Zagotavlja, da se oba akumulatorja združita, ko laufa motor, ali pa ko imaš priključen polnilec na 220V.

Pri dobrem polnilcu je vseeno tudi, če istočasno polniš obe bateriji - saj to delamo tudi med vožnjo. Najbolj važno je, da polnilec ne prefila ene, ali pa kar obeh baterij. Pa praviloma, voznega - štartnega akumulatorja sploh nebi rabil filat, le morda v izjemnih primerih.

Kdo je na strani

Po forumu brska: 0 registriranih uporabnikov in 0 gostov